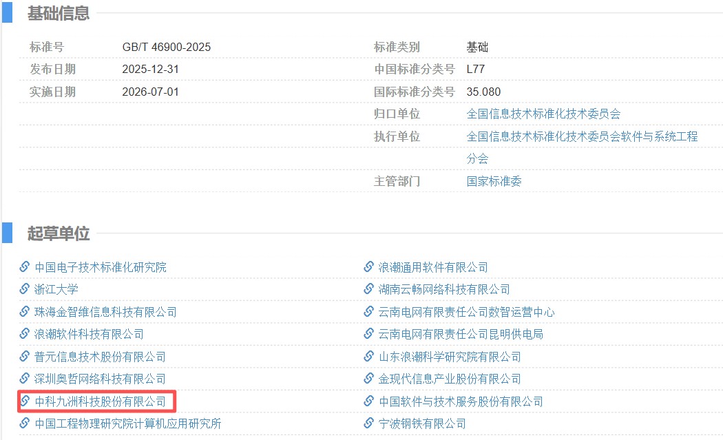
近日,国家市场监督管理总局(国家标准化管理委员会)正式发布了《系统与软件工程 低代码开发平台通用技术要求》(标准编号:GB/T 46900-2025),该标准将于2026年7月1日起正式实施。中科九洲科技股份有限公司作为核心起草单位之一,深度参与了该项国家标准的制定工作,为规范低代码开发平台技术、推动行业健康有序发展贡献了专业智慧与实践经验。
低代码开发平台作为加速企业数字化转型、提升软件开发效能的关键工具,近年来在国内得到广泛应用,但长期以来缺乏统一的国家级技术标准进行规范引导。此次发布的《系统与软件工程 低代码开发平台通用技术要求》国家标准,填补了这一空白。标准明确了低代码开发平台在系统与软件工程框架下的通用技术需求,对平台的开发环境、建模能力、应用构建与部署、互操作性、安全性、可管理性等方面提出了系统性的技术要求与评估准则,为平台的设计、开发、测试、选型和应用提供了权威、科学的依据。
中科九洲近年来自主研发了包括“九洲无代码政务应用生成平台”在内的多款产品,将AI大模型能力封装为组件,让传统应用场景快速具备大模型能力,实现“AI+”应用格局。公司凭借在无代码领域深厚的技术积累、丰富的行业应用实践以及对市场需求的深刻洞察,受邀参与了该标准从立项、草案编制、技术研讨、征求意见到最终审查的全过程。公司组织核心技术专家团队,将自身在平台架构设计、可视化开发、模型驱动、集成扩展、安全可靠等方面的先进理念与最佳实践融入标准内容,特别是在平台开放性与生态兼容性等关键指标上提出了建设性意见,确保了标准的前瞻性、实用性与指导价值。
该标准的发布与实施,标志着我国低代码开发平台产业迈入了标准化、规范化发展的新阶段。它不仅有助于引导低代码平台供应商提升产品技术水平和质量,保障用户权益,降低应用风险,更能为各行各业,特别是政务、金融、能源、制造等重点领域的数字化建设提供更加可靠、高效、易用的开发工具支撑,加速业务流程创新与业务应用敏捷交付,对全面促进软件产业高质量发展、赋能数字中国建设具有重要意义。
此次作为国家标准的核心起草单位,是中科九洲技术实力与行业领导地位获得国家级认可的重要体现。未来,中科九洲将继续秉承创新精神,严格遵守并积极推动该国家标准的落地实施,持续优化和完善自身的低代码开发平台产品与服务,携手产业链伙伴,共同构建更加繁荣、健康、安全的低代码开发生态,为推动我国数字经济与实体经济深度融合贡献更大力量。
